9332彩票网

当前位置:网站首页 > 新闻中心 > 技术文章

一种硬密封蝶阀的制作方法

9332彩票网2024/2/24 15:44:28

蝶阀百科 schieren.org
分享
  • 分享到微信朋友圈

  本实用新型涉及硬密封蝶阀领域,特别涉及一种硬密封蝶阀。

硬密封蝶阀的整体结构示意图


  背景技术:


  硬密封蝶阀又叫翻板阀,是一种结构简单的调节阀,同时也可用于低压管道介质的开关控制,硬密封蝶阀在管道上主要起切断和节流作用。随着密封蝶阀的种类越来越丰富,技术方向也朝着如何让人们使用更方便的方向发展;现有的硬密封蝶阀在使用时存在一定的弊端,由于硬密封蝶阀为偏心金属密封结构,密封形式大多数为金属对金属密封,承压能力弱,时间久了密封性能不够高,阀杆与蝶板连接处容易发生崩断,导致调节性能不够好,在使用过程中带来了一定的不利影响,为此,我们提出一种硬密封蝶阀。


  技术实现要素:


  本实用新型的主要目的在于提供一种硬密封蝶阀,可以有效解决背景技术中的问题。


  为实现上述目的,本实用新型采取的技术方案为:


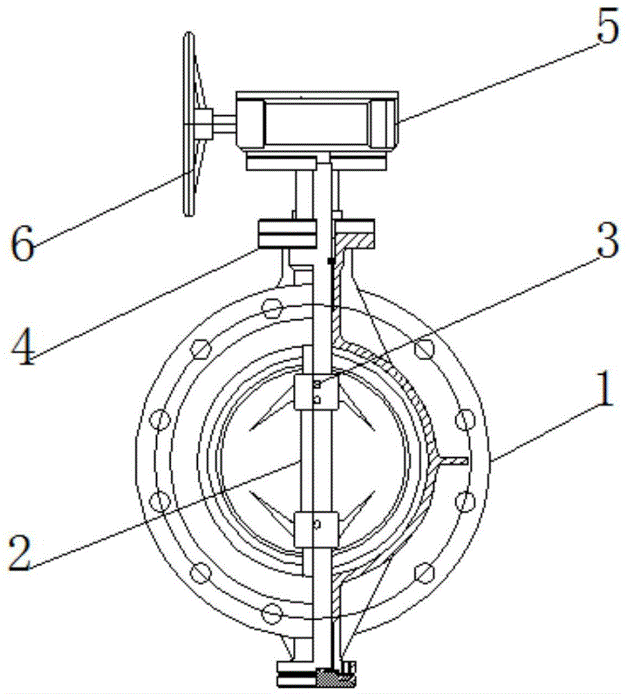
  一种硬密封蝶阀,包括法兰,所述法兰的内部贯穿连接有连接杆,所述连接杆的上方外表面固定连接有轴销,所述轴销的上方外表面固定连接有第一支架,所述第一支架的上端外表面设置有蜗轮传动器与摇轮,且摇轮活动安装在蜗轮传动器的一侧外表面,所述蜗轮传动器的下方外表面固定连接有第二支架,所述第二支架的下方固定安装有阀体,所述阀体的上方外表面设置有上阀杆,所述上阀杆的一侧外表面活动固定安装有螺栓,所述上阀杆的另一侧外表面活动固定安装有填料压盖,所述填料压盖的下方设置有对开环,所述对开环的下方外表面设置有O型圈,所述上阀杆的下方外表面固定连接有下阀杆,所述下阀杆的外侧设置有蝶板与压环,且蝶板位于压环的下方外表面,所述阀体的下方外表面固定安装有下端盖,所述下端盖的上方设置有


  金属垫片,所述蝶板的外侧固定连接有压板,所述压板的外侧表面靠近蝶板的上方设置有多层次密封圈,所述多层次密封圈的上方外表面设置有阀体密封圈。


  优选的,所述第一支架与第二支架的两侧外表面均设置有螺钉,并且与蜗轮传动器固定连接,所述上阀杆通过连接杆与下阀杆固定连接。


  优选的,所述上阀杆的周围外表面设置有轴套,所述螺栓的结构由螺柱、螺母、弾垫组成。


  优选的,所述轴销的数量为两个,且轴销位于连接杆的上下两侧,所述轴销与连接杆相互平行。


  优选的,所述蜗轮传动器与上阀杆的衔接处设置有填料,所述下端盖的上方通过螺钉与阀体固定安装。


  优选的,所述金属垫片的数量为两个,所述压板的结构为双层板。


  与现有技术相比,本实用新型具有如下有益效果:该硬密封蝶阀,通过设有轴销、多层次密封圈、压板,能够直接通过多层次密封圈完成对阀体良好的关闭密封性能和流体控制性能,轴销有很好的固定性、稳定性,承压能力高,避免了传动器与阀体之间意外断裂,压板为双层结构,能够保证阀杆与蝶板处不会因为密封性不够高而发生崩断,为适用不同的密封蝶阀,带来更好的使用前景,整个装置简单,操作方便,相对于金属密封装置节约了成本,密封和稳定的效果相对于传统方式更好。


  附图说明


  图1为本实用新型一种硬密封蝶阀的整体结构示意图。


  图2为本实用新型一种硬密封蝶阀的剖视图。


  图3为本实用新型一种硬密封蝶阀蝶板的放大视图。


  图中:1、法兰;2、连接杆;3、轴销;4、第一支架;5、蜗轮传动器;6、摇轮;7、第二支架;8、上阀杆;9、螺栓;10、填料压盖;11、对开环;12、O型圈;13、下阀杆;14、蝶板;15、压环;16、阀体;17、下端盖;18、金属垫片;19、压板;20、多层次密封圈;21、阀体密封圈。


  具体实施方式


  为使本实用新型实现的技术手段、创作特征、达成目的与功效易于明白了解,下面结合具体实施方式,进一步阐述本实用新型。


  如图1-3所示,一种硬密封蝶阀,包括法兰1,法兰1的内部贯穿连接有连接杆2,连接杆2的上方外表面固定连接有轴销3,轴销3的上方外表面固定连接有第一支架4,第一支架4的上端外表面设置有蜗轮传动器5与摇轮6,且摇轮6活动安装在蜗轮传动器5的一侧外表面,蜗轮传动器5的下方外表面固定连接有第二支架7,第二支架7的下方固定安装有阀体16,阀体16的上方外表面设置有上阀杆8,上阀杆8的一侧外表面活动固定安装有螺栓9,上阀杆8的另一侧外表面活动固定安装有填料压盖10,填料压盖10的下方设置有对开环11,对开环11的下方外表面设置有O型圈12,上阀杆8的下方外表面固定连接有下阀杆13,下阀杆13的外侧设置有蝶板14与压环15,且蝶板14位于压环15的下方外表面,阀体16的下方外表面固定安装有下端盖17,下端盖17的上方设置有金属垫片18,蝶板14的外侧固定连接有压板19,压板19的外侧表面靠近蝶板14的上方设置有多层次密封圈20,多层次密封圈20的上方外表面设置有阀体密封圈21。


  第一支架4与第二支架7的两侧外表面均设置有螺钉,并且与蜗轮传动器5固定连接,上阀杆8通过连接杆2与下阀杆13固定连接;上阀杆8的周围外表面设置有轴套,螺栓9的结构由螺柱、螺母、弾垫组成;轴销3的数量为两个,且轴销3位于连接杆2的上下两侧,轴销3与连接杆2相互平行;蜗轮传动器5与上阀杆8的衔接处设置有填料,下端盖17的上方通过螺钉与阀体16固定安装;金属垫片18的数量为两个,压板19的结构为双层板。


  需要说明的是,本实用新型为一种硬密封蝶阀,在使用时,主要由钢笔法兰1、连接杆2与轴销3等几大部分组成,在使用时,主要是以蝶板14的转动来完成管道的开启或关闭,当蝶板14旋转到九十度时,阀门呈开启状态,第一支架4与第二支架7的两侧外表面均设置有螺钉,并且与蜗轮传动器5固定连接,阀体16的上方外表面设置有上阀杆8,上阀杆8与下阀杆13的中间通过连接杆2固定连接,上阀杆8的周围外表面设置有轴套,压板19的外侧表面靠近蝶板14的上方设置有多层次密封圈20,能够直接通过多层次密封圈20完成对阀体16良好的关闭密封性能和流体控制性能,轴销3的数量为两个,且轴销3平行安装于连接杆2的上下两侧,有很好的固定性、稳定性,承压能力高,避免了传动器与阀体16之间意外断裂,蝶板14的外侧固定连接有压板19,压板19为双层结构,能够保证阀杆与蝶板14处不会因为密封性不够高而发生崩断,上阀杆8的另一侧外表面活动固定安装有填料压盖10,填料压盖10的下方设置有对开环11,对开环11的下方外表面设置有O型圈12,对于阀体16进行了进一步的有效密封,结构简单,较为实用。


  以上显示和描述了本实用新型的基本原理和主要特征和本实用新型的优点。本行业的技术人员应该了解,本实用新型不受上述实施例的限制,上述实施例和说明书中描述的只是说明本实用新型的原理,在不脱离本实用新型精神和范围的前提下,本实用新型还会有各种变化和改进,这些变化和改进都落入要求保护的本实用新型范围内。本实用新型要求保护范围由所附的权利要求书及其等效物界定。


版权所有 2018 浙江旭景泵阀有限公司       网站地图 技术支持:云鼎科技
香港六玄开奖网-六玄网132432-六玄神马开奖44579-六玄公式6588777-六玄神马免费中特料-澳彩六玄网论坛6258cmcc 天游8线路检测中心|欢迎您 灵蛇澳门2025年今晚看-灵蛇网4846cc-灵蛇网免费资料大全--灵蛇网4846cc最新版本更新内容-澳门灵蛇网4949 澳门灵蛇网4949-香港灵蛇网论坛资料大全最新-灵蛇网4846cc最新版本更新内容-灵蛇网4668cc-灵蛇澳门2025年今晚看 宏图彩票 - 首页 辉耀彩 - 首页