本实用新型涉及硬密封蝶阀技术领域,尤其涉及一种对夹式硬密封蝶阀。

背景技术:
软硬密封蝶阀的蝶板安装于管道的直径方向,在蝶阀阀体圆柱形通道内,圆盘形蝶板绕着轴线旋转,旋转角度为0°~90°之间,旋转到90°时,阀门则为全开状态,新型高寿命不锈钢蝶阀的特点以及蝶阀在使用过程中存在问题,本类阀门在管道中一般应当水平安装,软硬密封蝶阀根据连接方式可分为法兰式软硬密封蝶阀,对夹式软硬密封蝶阀,焊接式软硬密封蝶阀,软硬密封蝶阀作为一种用来实现管路系统切断及流量控制的部件,已在石油、化工、冶金、水电等许多领域中得到极为广泛地应用,在已公知的蝶阀技术中,其密封形式多采用密封结构,密封材料为橡胶、聚四氟乙烯等,由于结构特征的限制,不适应耐高温、高压及耐腐蚀、抗磨损等行业,现有一种比较先进的蝶阀是三偏心金属硬硬密封蝶阀,阀体和阀座为连体构件,阀座密封表面层堆焊耐温、耐蚀合金材料,多层软叠式密封圈固定在阀板上,这种蝶阀与传统蝶阀相比具有耐高温,操作轻便,启闭无磨擦,关闭时随着传动机构的力矩增大来补偿密封,提高了蝶阀的密封性能及延长使用寿命的优点。
硬密封蝶阀由于其自身的优异性能,得到了广泛的应用,软硬密封蝶阀一般都是在一些管道中使用,但目前现有的对夹式硬密封蝶阀结构设计还存在一定的缺陷,手动启闭装置传动效率太低,比较费力,而且没有锁紧装置,使用较为不便,为此,我们提出了新的一种对夹式硬密封蝶阀。
技术实现要素:
本实用新型的目的是为了解决现有技术中存在的缺点,而提出的一种对夹式硬密封蝶阀。
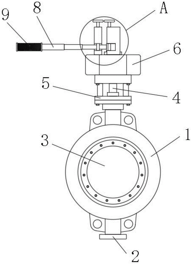
为了实现上述目的,本实用新型采用了如下技术方案:一种对夹式硬密封蝶阀,包括阀体,所述阀体底部的中心固定连接有固定底座,所述阀体的中心转动连接有阀芯蝶板,所述阀芯蝶板的中心固定连接有阀杆,所述阀体顶部的中心安装有支撑架,所述支撑架的顶部固定连接有传动支座,所述传动支座顶部的中心转动连接有固定块,所述固定块外壁的一侧固定连接有伸缩杆,所述伸缩杆远离固定块一端的外壁套接有橡胶皮套,所述传动支座的顶部分别固定连接有与伸缩杆相对应的第一锁紧块和第二锁紧块,所述第一锁紧块和第二锁紧块一侧的中心均安装有定位杆,所述定位杆的顶部固定连接有手提把手,所述第一锁紧块和第二锁紧块一侧的中心均开设有与定位杆相对应的滑槽,两个所述定位杆的外壁均套接有复位弹簧,两个所述定位杆外壁的中心固定连接有限位块,所述第一锁紧块和第二锁紧块底部的一侧均开设有与定位杆相对应的定位槽。
作为上述技术方案的进一步描述:
所述固定底座顶部的中心安装有与阀杆相对应的转动轴承。
作为上述技术方案的进一步描述:
所述阀杆通过多个固定螺钉与阀芯蝶板固定连接,且所述阀杆的顶端贯穿阀体和支撑架并向传动支座的中心延伸。
作为上述技术方案的进一步描述:
所述支撑架是通过多个固定螺栓与阀体固定连接。
作为上述技术方案的进一步描述:
所述第一锁紧块和第二锁紧块一侧顶部以及底部的中心均开设有与定位杆相对应的通孔,所述定位杆贯穿通孔并向滑槽的两端延伸。
作为上述技术方案的进一步描述:
所述第一锁紧块和第二锁紧块外壁一侧的底部均开设有与伸缩杆相对应的限位凹槽。
本实用新型具有如下有益效果:1、本实用新型提出的一种对夹式硬密封蝶阀与传统装置相比,该装置结构简单,方便实用,在不改变现有装置整体设计结构的情况下,通过设计简单的锁定和转动机构,可以有效防止因管内流量过大而推动阀芯蝶板进行自动关闭。
2、该装置与传统装置相比,其结构和设计均有较大创新和改进,该对夹式硬密封蝶阀不仅设计有简单的启闭机构,还设计有锁紧机构,既可以快速方便的启闭阀芯蝶板,同时也可以实现对阀杆位置的锁紧固定,工作效率大大提高,值得大力推广。
附图说明
图1为本实用新型提出的一种对夹式硬密封蝶阀的主视结构图;
图2为本实用新型提出的一种对夹式硬密封蝶阀第一锁紧块的内部结构示意图;
图3为图1中a处的局部放大图。
图例说明:
1、阀体;2、固定底座;3、阀芯蝶板;4、阀杆;5、支撑架;6、传动支座;7、固定块;8、伸缩杆;9、橡胶皮套;10、第一锁紧块;11、第二锁紧块;12、定位杆;13、手提把手;14、滑槽;15、复位弹簧;16、限位块;17、定位槽;18、限位凹槽。
具体实施方式
下面将结合本实用新型实施例中的附图,对本实用新型实施例中的技术方案进行清楚、完整地描述,显然,所描述的实施例仅仅是本实用新型一部分实施例,而不是全部的实施例。基于本实用新型中的实施例,本领域普通技术人员在没有做出创造性劳动前提下所获得的所有其他实施例,都属于本实用新型保护的范围。
在本实用新型的描述中,需要说明的是,术语“中心”、“上”、“下”、“左”、“右”、“竖直”、“水平”、“内”、“外”等指示的方位或位置关系为基于附图所示的方位或位置关系,仅是为了便于描述本实用新型和简化描述,而不是指示或暗示所指的装置或元件必须具有特定的方位、以特定的方位构造和操作,因此不能理解为对本实用新型的限制;术语“第一”、“第二”、“第三”仅用于描述目的,而不能理解为指示或暗示相对重要性,此外,除非另有明确的规定和限定,术语“安装”、“相连”、“连接”应做广义理解,例如,可以是固定连接,也可以是可拆卸连接,或一体地连接;可以是机械连接,也可以是电连接;可以是直接相连,也可以通过中间媒介间接相连,可以是两个元件内部的连通。对于本领域的普通技术人员而言,可以具体情况理解上述术语在本实用新型中的具体含义。
参照图1-3,本实用新型提供的一种实施例:一种对夹式硬密封蝶阀,包括阀体1,阀体1底部的中心固定连接有固定底座2,阀体1的中心转动连接有阀芯蝶板3,阀芯蝶板3的中心固定连接有阀杆4,阀体1顶部的中心安装有支撑架5,支撑架5的顶部固定连接有传动支座6,传动支座6顶部的中心转动连接有固定块7,固定块7外壁的一侧固定连接有伸缩杆8,伸缩杆8远离固定块7一端的外壁套接有橡胶皮套9,传动支座6的顶部分别固定连接有与伸缩杆8相对应的第一锁紧块10和第二锁紧块11,第一锁紧块10和第二锁紧块11一侧的中心均安装有定位杆12,定位杆12的顶部固定连接有手提把手13,第一锁紧块10和第二锁紧块11一侧的中心均开设有与定位杆12相对应的滑槽14,两个定位杆12的外壁均套接有复位弹簧15,两个定位杆12外壁的中心固定连接有限位块16,第一锁紧块10和第二锁紧块11底部的一侧均开设有与定位杆12相对应的定位槽17。
固定底座2顶部的中心安装有与阀杆4相对应的转动轴承。
阀杆4通过多个固定螺钉与阀芯蝶板3固定连接,且阀杆4的顶端贯穿阀体1和支撑架5并向传动支座6的中心延伸,阀杆4的顶端只有贯穿阀体1和支撑架5并向传动支座6的中心延伸,才能使阀杆4与固定块7固定连接,从而可以通过转动固定块7带动阀杆4和阀芯蝶板3进行转动,从而实现阀芯蝶板3的启闭。
支撑架5是通过多个固定螺栓与阀体1固定连接,通过多个固定螺栓与阀体1固定连接使其便于拆卸和安装。
第一锁紧块10和第二锁紧块11一侧顶部以及底部的中心均开设有与定位杆12相对应的通孔,定位杆12贯穿通孔并向滑槽14的两端延伸。
第一锁紧块10和第二锁紧块11外壁一侧的底部均开设有与伸缩杆8相对应的限位凹槽18,当伸缩杆8转动至限位凹槽18中后,再用定位杆12进行固定,既可以完成对伸缩杆8的锁定。
工作原理:本实用新型提出的一种对夹式硬密封蝶阀与传统装置有较大改进创新,在使用该对夹式硬密封蝶阀时,我们只需将其安装在需要连接的管道之间即可,当伸缩杆8位于第二锁紧块11的一侧时,阀芯蝶板3处于关闭状态,在需要开启阀芯蝶板3时,我们只需拉出伸缩杆8,从而使伸缩杆8定向伸长,在杠杆原理的作用下,我们可以轻松的通过伸缩杆8带动固定块7向第一锁紧块10的方向转动,而阀杆4与固定块7固定连接,从而可以通过转动固定块7带动阀杆4和阀芯蝶板3进行转动,从而实现阀芯蝶板3的开启,待伸缩杆8靠近第一锁紧块10一侧的定位杆12时,我们可通过抓住手提把手13拉起定位杆12,从而使其底端离开定位槽17,然后继续转动伸缩杆8,使其转动至限位凹槽18中,然后我们即可松开手提把手13,在复位弹簧15自身的弹性作用下,会将定位杆12反向推回定位槽17中,从而完成对伸缩杆8以及阀芯蝶板3的锁定,在需要重新关闭阀芯蝶板3时,只需反向重复上述步骤即可。
最后应说明的是:以上所述仅为本实用新型的优选实施例而已,并不用于限制本实用新型,尽管参照前述实施例对本实用新型进行了详细的说明,对于本领域的技术人员来说,其依然可以对前述各实施例所记载的技术方案进行修改,或者对其中部分技术特征进行等同替换,凡在本实用新型的精神和原则之内,所作的任何修改、等同替换、改进等,均应包含在本实用新型的保护范围之内。
技术特征:
1.一种对夹式硬密封蝶阀,包括阀体(1),其特征在于:所述阀体(1)底部的中心固定连接有固定底座(2),所述阀体(1)的中心转动连接有阀芯蝶板(3),所述阀芯蝶板(3)的中心固定连接有阀杆(4),所述阀体(1)顶部的中心安装有支撑架(5),所述支撑架(5)的顶部固定连接有传动支座(6),所述传动支座(6)顶部的中心转动连接有固定块(7),所述固定块(7)外壁的一侧固定连接有伸缩杆(8),所述伸缩杆(8)远离固定块(7)一端的外壁套接有橡胶皮套(9),所述传动支座(6)的顶部分别固定连接有与伸缩杆(8)相对应的第一锁紧块(10)和第二锁紧块(11),所述第一锁紧块(10)和第二锁紧块(11)一侧的中心均安装有定位杆(12),所述定位杆(12)的顶部固定连接有手提把手(13),所述第一锁紧块(10)和第二锁紧块(11)一侧的中心均开设有与定位杆(12)相对应的滑槽(14),两个所述定位杆(12)的外壁均套接有复位弹簧(15),两个所述定位杆(12)外壁的中心固定连接有限位块(16),所述第一锁紧块(10)和第二锁紧块(11)底部的一侧均开设有与定位杆(12)相对应的定位槽(17)。
2.根据权利要求1所述的一种对夹式硬密封蝶阀,其特征在于:所述固定底座(2)顶部的中心安装有与阀杆(4)相对应的转动轴承。
3.根据权利要求1所述的一种对夹式硬密封蝶阀,其特征在于:所述阀杆(4)通过多个固定螺钉与阀芯蝶板(3)固定连接,且所述阀杆(4)的顶端贯穿阀体(1)和支撑架(5)并向传动支座(6)的中心延伸。
4.根据权利要求1所述的一种对夹式硬密封蝶阀,其特征在于:所述支撑架(5)是通过多个固定螺栓与阀体(1)固定连接。
5.根据权利要求1所述的一种对夹式硬密封蝶阀,其特征在于:所述第一锁紧块(10)和第二锁紧块(11)一侧顶部以及底部的中心均开设有与定位杆(12)相对应的通孔,所述定位杆(12)贯穿通孔并向滑槽(14)的两端延伸。
6.根据权利要求1所述的一种对夹式硬密封蝶阀,其特征在于:所述第一锁紧块(10)和第二锁紧块(11)外壁一侧的底部均开设有与伸缩杆(8)相对应的限位凹槽(18)。
技术总结
本实用新型公开了一种对夹式硬密封蝶阀,包括阀体,所述阀体底部的中心固定连接有固定底座,所述阀体的中心转动连接有阀芯蝶板,所述阀芯蝶板的中心固定连接有阀杆,所述支撑架的顶部固定连接有传动支座,所述传动支座顶部的中心转动连接有固定块,所述固定块外壁的一侧固定连接有伸缩杆,所述传动支座的顶部分别固定连接有与伸缩杆相对应的第一锁紧块和第二锁紧块,所述第一锁紧块和第二锁紧块一侧的中心均安装有定位杆,两个所述定位杆的外壁均套接有复位弹簧。本实用新型中,该对夹式硬密封蝶阀不仅设计有简单的启闭机构,还设计有锁紧机构,既可以快速方便的启闭阀芯蝶板,同时也可以实现对阀杆位置的锁紧固定,工作效率大大提高,值得大力推广。